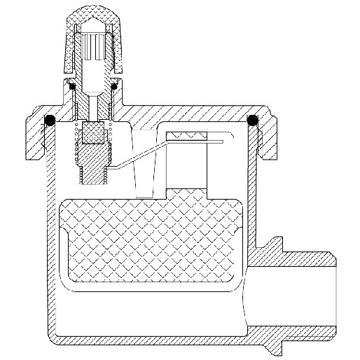
ITAP 364 odvzdušňovací ventil automatatický rohový
ITAP 364 odvzdušňovací ventil automatatický rohový
+420 704 458 187
